振動清灰布袋除塵器工作原理
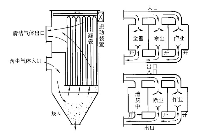
振動清灰布袋除塵器是利用機械裝置振打或搖動懸吊 除塵濾袋 的框架,使除塵濾袋產生振動而清落積灰,圓袋多在頂部施加振動,使之產生垂直的或水平的振動,或者垂直與水平兩個方向同時振動,施加振動的部位也有在濾袋的中間位置的。由于清灰時粉塵要揚起,所以振動清灰常采用分室工作制,即將整個 布袋除塵器 分隔成若于個袋室,順次地逐室進行清灰,可保持布袋除塵器的連續運轉。進行清灰的袋室,利用閥門自動地將風流切斷,不讓含塵空氣進入。以頂部為主的振動清灰,每分鐘振動可達數百次,使粉塵脫落入灰斗中。振動清灰方式袋式除塵器如圖所示。
振動清灰的強度可由振動的_加速度來表示,清灰強度和振動頻率的二次方與振幅之積成正比。但是,振動頻率過高時,則振動向全部除塵濾袋的傳播不夠充分,而是有一個比較合適的范圍。采用振動電機時,一般取振動頻率為 20~30 次 /S ,振幅為 20~50mm 減少振幅,增加頻率,能減輕濾布的損傷,并能使振動波及于整個除塵濾袋。
對于軸附性強的粉塵,需增大振幅,減小除塵濾袋張力,以增強對沉積粉塵層的破壞力。振動清灰方式的機械構造簡單,運轉可靠,但清灰作用較弱,適用于紡織布除塵濾袋。
本文章由: http://m.s5345.cn 整理

冀 公網安備 13098102000341號