1 引言
旋風器的類型有切流反轉式、軸流反轉式、直流式等。工廠通風除塵使用的主要是切流反轉式旋風器。
2 旋風器結構
2 . 1 單體基本結構
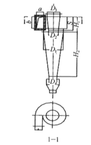
單體基本結構參見圖 1 ,含塵氣體通過進口起旋器產生旋轉氣流,粉塵在離心力作用下脫離氣流和筒錐體邊壁運動,到達壁附近的粉塵在氣流的作用下進入收塵灰斗,去除了粉塵的氣體匯向軸心區域由排氣芯管排出。

圖
1
旋風器結構示意圖
2
.
2
結構改進措施
旋風器在長期使用中,為了達到低阻_性能其結構不斷進行改進,改進措施主要有:
( 1 )進氣通道由切向進氣改為回轉通道進氣,通過改變含塵氣體的濃度分布、減少短路流排塵量。回轉通道在 90° 左右時阻力較小。
( 2 )把傳統的單進口改為多進口,有效地改進旋轉流氣流偏心,同時旋風器阻力顯著下降。( 3 )在筒錐體上加排塵通道,防止到達壁面的粉塵二次返混。
( 4 )采用錐體下部裝有二次分離裝置(反射屏或中間小灰斗)防止收塵二次返混。
( 5 )排氣芯管上部加裝二次分離器,利用排氣強旋轉流進行微細粉塵的二次分離,對捕集短路粉塵_為有效。
( 6 )在筒錐體分離空間加裝減阻件降阻,等。
2 . 3 組合技術
處理氣體量較大時,可以采用多個旋風器單體進行并聯組合。( 1 )多筒組合:多筒組合可以采用分支并聯和環狀并聯方式,見圖 2 。組合技術的關鍵在于含塵氣流分配的均勻性和防止氣流串流。分支并聯一般采用雙旋風器、四旋風器方式。對于處理氣體量較大時,也可以采用母管分支并聯方式。分支旋風器一般采用渦殼排氣方式。( 2 )多管組合:多管組合可以采用數十個旋風子(小尺寸旋風器)進行箱式并聯安裝。旋風子在進氣箱體中可以采用順排并聯或錯排并聯,采用慣性沉降一旋風子兩級一體復合除塵參見圖 3 ,含塵氣流分配的均勻性可以通過調整旋風子進氣口角度、排氣芯管長度、進氣空間高度、旋風子間距等措施實現。
圖2 多筒組合并聯方式 圖3 多管組合并聯方式

冀 公網安備 13098102000341號